Un couteau est un article dangereux mais utile. Il est impossible de s'en passer en cuisine, en randonnée, à la chasse, lorsque l'on travaille sur différentes machines avec des éléments de coupe. Tout couteau doit être entretenu afin qu'il ne perde pas de netteté. C'est pourquoi il est nécessaire d'avoir à portée de main un dispositif fiable pour affûter les couteaux. Les maîtres les affûtent sur un broyeur fabriqué en usine, mais l'appareil le plus simple peut être fabriqué indépendamment. L'essentiel est de connaître les spécificités de l'affûtage des outils de coupe afin de ne pas se tromper dans les calculs.
Table des matières
Les bases d'un affûtage correct de la lame
Même les femmes au foyer ont plusieurs couteaux à des fins différentes. Ils coupaient le pain et les pâtisseries avec un appareil, la viande avec un autre, et coupaient le cartilage et les os avec un troisième. Il y a des couteaux de chasse et de pêche. Chacun d'eux diffère de l'autre dans un angle d'affûtage individuel. Ce concept définit le but de l'objet de coupe.
L'angle d'affûtage est visible si le couteau n'a pas eu le temps de moudre à la maison. Il peut être vu lors de l'achat d'un nouveau couteau - avant son utilisation active.
L'affûtage manuel des outils de coupe est une tâche minutieuse nécessitant une stricte adhérence à l'angle. Les machines d'usine facilitent cette tâche, mais sont très chères - à partir de 20 000 roubles et plus. Si vous aimez les produits faits maison, vous pouvez fabriquer un outil pour affûter les couteaux de vos propres mains, et si vous avez besoin de dessins, vous pouvez toujours les trouver sur Internet. Cela prendra du temps, mais cela ne coûtera pas si cher. Il est connu que les appareils faits maison ne sont pas pires que ceux fabriqués en usine et fonctionnent pendant de nombreuses années.
Concept d'angle d'affûtage
Sa valeur est différente pour l'un ou l'autre type de lame. Les dimensions angulaires des différents outils de coupe ressemblent à ceci:
- 8-12 degrés pour les rasoirs dangereux;
- 10-15 degrés pour les couteaux à filet;
- 15-20 degrés pour les outils ménagers;
- 20-25 degrés pour les couteaux de pêche et de chasse. Selon les besoins du chasseur ou du pêcheur, l'angle peut être supérieur - jusqu'à 40 degrés;
- 30-50 degrés pour les lames à usage spécial (par exemple, pour une machette, qui est utilisée pour couper et hacher du bambou, des vignes et des troncs d'arbres).
Whetstone et ses caractéristiques
Le processus d'affûtage des couteaux est impossible sans meule. Comme l'émeri, il a un degré de granularité différent - fin, moyen ou grossier. Cette division est arbitraire pour différents pays. Une gradation approximative de la meule ressemble à ceci:
- de 200 à 250 - fraction extra-grossière, qui n'est pas utilisée pour l'affûtage;
- de 300 à 350 est rugueux. Les lames endommagées ou très émoussées sont traitées avec un tel affûteur. En outre, la fraction grossière est utilisée si vous prévoyez de changer l'angle d'affûtage;
- de 400 à 500 - moyenne. Il est rare dans le commerce de détail car les maîtres l'utilisent rarement;
- de 600 à 700 est peu profond. Ce sont ces barres qui sont universelles et conviennent à la plupart des couteaux;
- de 1000 à 1200 - très petit. Avec son aide, vous pouvez donner à la lame la même brillance qu'un miroir.
Il existe des affûteurs de pierres à aiguiser en diamants, en céramique ou en roches d'ardoise. Ils peuvent être naturels ou artificiels.Les barres d'origine naturelle s'usent plus rapidement que les barres artificielles. Parmi eux, les produits en petite fraction sont rarement trouvés.
Avant utilisation, vous devez traiter les barres avec de l'eau. Lors de l'absorption de liquide et de l'affûtage, les particules abrasives se transforment en une pâte épaisse. La pâte contribue à un affûtage de haute qualité. Pour une plus grande efficacité, du savon mélangé à de l'eau peut être utilisé.
Lors du choix d'une barre, il est nécessaire de prendre en compte sa forme et sa longueur. La longueur de l'affûteur doit être plus longue que la lame. Plus pratique pour travailler sur une rectifieuse double face, lorsqu'un abrasif à grains fins se trouve d'un côté de la barre et un matériau à gros grains de l'autre.
Règles pour l'affûtage manuel des couteaux
Il est impossible de faire face à la machine sans compétences d'aiguisage manuel. Si vous êtes nouveau dans ce domaine, vous devez d'abord apprendre à affûter les lames à l'aide d'une barre. Pour les couteaux affûtés à la main, la qualité de coupe n'est pas pire. L'algorithme de travail avec la barre ressemble à ceci:
- poser la barre sur une surface plane. Utilisez une meule moyenne ou grossière;
- le fixer de manière à ce qu'il ne tombe pas de la table pendant le fonctionnement;
- déterminer l'angle d'affûtage (son nombre sera égal à la moitié de l'angle sélectionné);
- maintenez la lame à cet angle;
- tous les mouvements doivent être cohérents: n'appuyez pas sur l'affûteur;
- l'affûtage commence dans la direction opposée à vous-même;
- assurez-vous que lors d'une approche, la lame dépasse toute la zone de la barre. Ceci peut être réalisé en tournant doucement la poignée du couteau lorsque la lame s'approche du bord arrondi de la meule;
- Après chaque mouvement, essayez de garder la lame à la surface de la pierre. Ne le laissez pas tomber pour ne pas émousser le couteau et ne pas l'endommager latéralement;
- faire tous les mouvements d'avant en arrière consécutivement, lentement.
Pendant le processus, surveillez les changements à l'intérieur de la lame. Une barbe devrait y apparaître. Elle ressemble à un bord mince. La bavure est soigneusement pelotée. Dans ce cas, vous ne pouvez pas mettre votre doigt le long de la lame. Placez votre doigt perpendiculairement à la position de la lame sur la barre: cela vous évitera des blessures. Après avoir trouvé le tranchant, commencez à aiguiser le couteau de l'autre côté afin que la bavure le dépasse et devienne plus petite.
Après l'affûtage, changez la pierre à aiguiser à grain moyen en un affûteur à grain fin. Cela aidera à meuler les bords restants et à lisser la surface de la lame. Vous pouvez polir le couteau pour qu'il ne brille pas pire qu'un miroir. Pour ce faire, utilisez une barre de fraction fine et ne faites de mouvements que dans un sens, loin de vous.
Faire des appareils faits maison
Pour travailler avec des couteaux, il existe différents modèles de machines manuelles «adaptables» et à part entière. Si vous le souhaitez, n'importe lequel de ces dispositifs pour affûter les couteaux peut être fait de vos propres mains. Parfois, les matériaux à portée de main qui restent après la réparation de la maison et les pièces détachées d'anciens appareils «aident». Grâce à l'imagination et à l'ingéniosité, les artisans fabriquent des appareils à la fois simples et complexes:
- taille-crayon "Maison";
- ciseaux électriques pour la maison;
- affûteur LM;
- appareil manuel à partir d'un cadre d'angle et d'un âne;
- pour raboter les couteaux;
- pour le traitement linéaire par barre;
- pour assembler les couteaux;
- pour affûter les lames de perceuse à glace;
- affûteuse à roues.
Taille-crayon "House"
Un outil d'affûtage simple mais efficace. Vous devez prendre une petite barre avec la face supérieure, dans une forme ressemblant à un toit à pignon. Chaque face doit être inclinée selon un angle de 20 à 25 degrés. La lame du couteau est solidement fixée à la crête du "toit", et son autre côté est traité avec un bloc ou un cercle dans le sens horizontal. Grâce à la barre de toit, l'angle d'inclinaison reste toujours inchangé.
Trancheuse électrique domestique
Si vous améliorez les centrales électriques que vous avez déjà chez vous, vous pouvez obtenir un appareil de modification amélioré. Avec l'affûtage électrique standard, des problèmes surviennent avec une pression uniforme sur la lame. Pour assurer une pression uniforme, il est nécessaire de compléter la conception de la machine avec un mécanisme de guidage.Vous aurez besoin de:
- blocs de bois;
- 4 boulons ou autant de goujons (filetage M8);
- 4 écrous de serrage;
- chevilles pour travailler le bois.
Le guide doit être en face de l'aiguiseur électrique. Un coureur se déplace uniformément le long de celui-ci. Lieu de fixation du rail de guidage: établi ou lit préfabriqué. Dans le lit pour sa mobilité, une rainure est découpée dans le sens longitudinal, et le trépied est fixé avec deux plots. Les trous latéraux sont percés en deux blocs, puis une broche est insérée dans eux et serrée avec des écrous de serrage.
Des dispositifs de fixation sont fixés des deux côtés du chariot mobile. Lors de l'affûtage, le chariot est réglé à la hauteur souhaitée, en le fixant avec des écrous de serrage. Le trépied est ajusté en fonction de la taille de l'outil de coupe, qui dans le processus est déplacé le long des deux guides.
Affûteur LM
L'affûteur Lansky Metabo est difficile à fabriquer. Le plus souvent, des broyeurs professionnels travaillent avec elle. Pour travailler avec un tel projet, des dessins sont nécessaires. Il est conçu pour que l'angle d'affûtage puisse être modifié en fonction du type d'outil de coupe. Ses pinces sont conçues de telle manière que lors de la fixation de la partie racine de la lame, vous pouvez atteindre l'angle d'affûtage maximal. L'affûteur LM est souvent utilisé pour affûter les couteaux à raboter et les épaississeurs, et les pinces sont constituées de blocs ou de coins métalliques.
Avec l'auto-assemblage d'une telle conception, de nombreuses difficultés se posent - en raison du grand nombre d'éléments complexes.
Appareil manuel à partir d'un cadre d'angle et d'un âne
Il vaut mieux ne pas essayer d’assembler immédiatement une machine complexe, mais s’arrêter avec un simple outil. À partir de moyens improvisés, vous pouvez créer une sorte de structure angulaire avec un âne intégré. Lorsque vous complétez l'appareil avec un chariot, il n'est pas nécessaire de maintenir constamment l'angle d'affûtage manuellement. Pour le chariot, vous avez besoin d'une barre triangulaire et d'un aimant qui attirera une lame métallique sur elle-même.
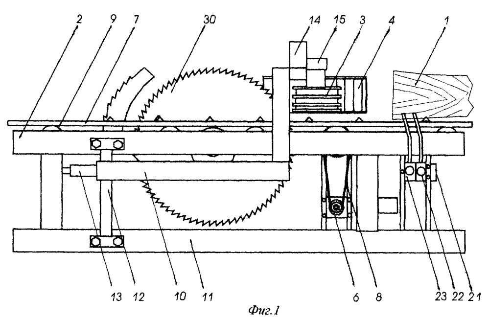
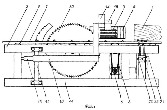
Affûtage des couteaux à raboter
Un dispositif pour affûter les couteaux à raboter est un phénomène rare. Il est presque impossible d'acheter une telle machine, donc les artisans sont engagés dans l'amélioration de ces machines qui étaient initialement disponibles. Pour créer un dispositif de «rabotage», vous aurez besoin de l'affûteuse à basse vitesse habituelle avec refroidissement par eau. En tant que meule, du matériau frais et inutilisé d'une grande fraction avec une surface plane est utilisé.
Dispositif de traitement linéaire
Un dispositif de traitement linéaire avec une barre est un modèle complexe de machine qu'une personne expérimentée en menuiserie peut manipuler. Besoin de prendre:
- contreplaqué ou panneau de particules revêtu d'un stratifié;
- une épingle à cheveux en acier avec un fil "long" (le diamètre du goujon est de 6 à 8 mm);
- bloc de textolite ou d'ébonite (en bois, en chêne ou en hêtre);
- plaque d'aluminium (épaisseur de plaque de 3 à 5 mm);
- écrous de fixation;
- aimant néodyme.
La base de la machine est assemblée à partir de contreplaqué. Nous établissons un lit sur pieds. Dans la partie inférieure, vous devez tordre une longue épingle à cheveux et son équilibre soigneusement coupé. Nous fixons la plaque d'aluminium au milieu. Il faut y faire une rainure dont le diamètre correspond au boulon. L'aluminium est un métal mou qui n'endommage pas la lame, il n'est donc pas recommandé d'utiliser d'autres matériaux.
L'émeri ou la pierre à aiguiser doivent être fixés à la machine avec le levier. Il peut être fabriqué à partir de la partie de l'épingle à cheveux qui reste. Les dispositifs qui fixent la barre sont coupés du PCB et la butée est fixée avec un écrou. Lorsque la poignée est située, il est préférable de faire monter l'unité immédiatement. Ce mécanisme facilitera le remplacement de l'ancien taille-crayon par un nouveau. Après avoir fait sauter le bloc sur une plaque d'aluminium, collez de l'émeri ou un taille-crayon. Selon la surface de la surface de travail, le nombre d'affûteurs de fractions différentes peut aller de 2 à 3.
L'avantage de cette machine est son joint mobile, qui a deux degrés de liberté. Il est collecté à partir de deux barres de textolite de même taille.La première barre est montée sur une épingle à cheveux située verticalement. Cela est nécessaire pour créer un axe horizontal lors de la rotation de la lame, ainsi que pour régler la hauteur du levier. Cette conception garantit toujours le bon angle de meulage.
Dans la deuxième barre de textolite, un trou est fait dans le sens horizontal - pour le levier. Après cela, le deuxième bloc est vissé au premier, et le levier se déplacera librement verticalement. Lors de l'affûtage, le couteau est serré avec une plaque ou un aimant en néodyme est utilisé.
Dispositif pour dégauchisseuse à couteaux
Le dispositif d'affûtage des couteaux de la dégauchisseuse est monté sur une fraiseuse de type vertical. L'appareil est composé de deux plaques. Le premier est situé en dessous, le second est au-dessus. Le support dans lequel est placée la lame de l'outil de coupe est situé sur la plaque supérieure. Pour fixer la plaque inférieure à la base de la fraiseuse, une pince et des coins métalliques sont utilisés.
Pour le support du couteau à dégauchir, vous aurez besoin de pinces et d'un coin métallique (50x50 mm). Il est coupé à un angle d'affûtage de 40 degrés. Le bord des couteaux doit être solide et le broyeur doit être abaissé à une faible profondeur (environ 10 microns) afin de ne pas l'endommager pendant le fonctionnement. La plaque supérieure de l'appareil est soulevée par un mécanisme, qui comprend une cale, une vis mère et des plaques d'arrêt. Pendant la rotation de la poignée, la vis mère et le coin commencent à bouger: vous pouvez soulever la plaque supérieure ou la baisser.
Comment affûter les couteaux brise-glace
Un dispositif pour affûter les couteaux d'une perceuse à glace peut également être fait à la maison. Il est nécessaire de prendre deux bandes d'acier, chacune ayant les dimensions suivantes:
- épaisseur - de 3 à 4 mm;
- largeur - de 50 à 60 mm;
- longueur - de 160 à 200 mm.
Des bandes sont nécessaires pour fabriquer le boîtier de l'appareil. L'un d'eux est courbé en arc. Ceci est nécessaire pour la position correcte des chanfreins des couteaux. Ils doivent être dans le même plan. Dans cette position, l'angle d'affûtage de tous les couteaux affûtés simultanément sera le même. Après avoir fabriqué l'arc de corps à partir de la deuxième bande, faites la plaque, qui est nécessaire pour fixer les outils de coupe.
Ensuite, dans la plaque et dans le corps, vous devez percer le trou. Nous insérons des boulons avec un filetage M12 ou M14 dans chaque trou. À l'aide d'un boulon et d'un écrou, nous fixons la plaque au corps. Maintenant, nous devons essayer de serrer les couteaux entre le corps et la plaque et vérifier leur ajustement. Le contact des lames avec la surface d'extrémité doit être précis et étanche. Si les chanfreins ne sont pas suffisamment serrés par rapport à «l'affûteur» abrasif, l'angle d'affûtage sera incorrect. Pour le corriger, l'arc du corps est «ajusté», en le pliant légèrement dans la direction souhaitée. Si tout est fait correctement, vous devez démonter la structure et souder deux raidisseurs (un de chaque côté) à l'arc de caisse.
L'affûtage des couteaux pour perceuse à glace se fait mieux sur une meule abrasive qui tourne dans le sens horizontal. Lorsque les couteaux sont humidifiés avec de l'eau, dans cette position, le liquide restera plus longtemps dans un cercle. Cette technologie permet de maintenir la meule abrasive et de refroidir les lames en acier.
L'aiguiseur pour perceuse à glace est prêt. Afin d'éviter une surchauffe du métal pendant le fonctionnement, il est nécessaire de descendre les couteaux dans l'eau plus souvent.
Fixation sur roues
Un simple appareil à roues est une structure qui se compose d'une barre fixe et d'un chariot à roues. Pendant l'affûtage, le couteau déplace la lame du couteau manuellement, et l'angle d'affûtage est déterminé par la hauteur à laquelle le bloc est situé par rapport à la plate-forme de travail. Une lame est placée sur la plate-forme et fixée. L'appareil sur roues est utilisé uniquement sur une surface plane.
Puisque nous parlons de l'appareil le plus simple, l'angle d'affûtage pendant le fonctionnement peut varier légèrement. L'appareil est conçu pour fonctionner avec des couteaux de cuisine domestiques, donc changer l'angle dans ce cas n'est pas fatal. Si vous améliorez la conception avec deux ou trois supports, l'angle sera presque parfait.
En utilisant des éléments simples en bois et en métal, vous pouvez fabriquer n'importe quel appareil pour affûter des couteaux de cuisine. Le plus souvent, vous n'avez pas besoin de concevoir des machines complexes pour les besoins domestiques, mais si vous avez une fraiseuse prête à l'emploi, les artisans peuvent l'adapter pour travailler avec des outils de coupe plus complexes.

Hélas, pas encore de commentaires. Soyez le premier!